You are here: Home / News / Orbital knowledge / Railway Wheel Flange and Tread Profile Design: Key Factors for Safety and Performance

Railway Wheel Flange and Tread Profile Design: Key Factors for Safety and Performance

Author: Site Editor     Publish Time: 2026-04-23      Origin: Site

Inquire

Railway Wheel Flange and Tread Profile Design: Key Factors for Safety and Performance


The design of a railway wheel’s flange and tread profile plays a critical role in ensuring safe and efficient train operation. A well-matched wheel–rail contact geometry not only reduces wear and stress but also improves overall running stability and curve negotiation performance.

Optimizing Wheel–Rail Contact Geometry

When designing the wheel tread profile, it is essential to ensure proper compatibility with the rail head shape. An ideal wheel–rail interface can effectively reduce contact stress and minimize wear, which directly contributes to:

· Improved performance when passing through curves
· Reduced maintenance frequency and cost
· Increased critical speed for train stability

In addition, the newly designed tread profile should closely match the worn profile in real operating conditions. This helps reduce the amount of metal removal during reprofiling, thereby extending wheel service life and lowering maintenance costs.


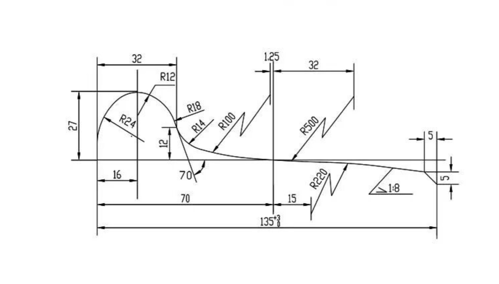
wheel rail contact geometry and tread profile


Wheel Flange Design and Safety Considerations

The flange is a key safety feature that prevents derailment. Its height and geometry must be carefully controlled:

· Flange Height: Typically ranges between 26 mm and 30 mm
· Too Low: Increases the risk of derailment
· Too High: May cause interference with rail components such as fishplate bolts or shoulders, especially when tread wear is significant

For safe passage through turnouts, smaller wheel diameters generally require higher flange heights.

The flange angle is also crucial. The outer surface of the flange must maintain an appropriate angle with the horizontal plane:

· Angle Too Small: Higher risk of wheel climbing (derailment at low speeds)
· Angle Too Large: Increases machining removal during reprofiling and may cause contact between flange top and rail under attack angle conditions

railway wheel flange profile and safety structure

Influence of Track Conditions and Speed

The tread profile is primarily determined by track conditions and train operating speed, rather than the wheel’s structural design. When there are no significant changes in track infrastructure or operating speed, the tread profile typically remains unchanged—even if the wheel structure is modified.

In most cases, standardized tread profiles are adopted to ensure compatibility and reliability across railway systems.

Conclusion

Railway wheel flange and tread profile design is a vital aspect of train safety and performance. By optimizing wheel–rail interaction, controlling flange dimensions, and aligning tread design with real operating conditions, railway operators can significantly enhance operational efficiency, reduce wear, and improve overall safety.

MTJ logo
Our Address
No. 196, Cihu South Street, Cihu High-tech Zone, Ma'anshan City, Anhui Province

About Us
Maanshan Tianjun Machinery Manufacturing Co., LTD is a top supplier of wheels, axles, tyres and wheelset for locmotive, passenger coach,wagons, metro and other rail and mining cars, specialized in related after-sale service and repair service.
Custom-made solution is a commitment for our company. Please contact us for supplying best products for you!

Subscribe
Sign up for our newsletter to receive the latest news.
​Copyright © 2023 Maanshan Tianjun Machinery Manufacturing Co., Ltd. All Rights Reserved.​​​​​​​ Technology by leadong.comSitemap